4297-K8

This item ships free!
AMTSKU: 4297-K8

Contact for price
or Call for most up to date lead times. (781) 281-8905

Description

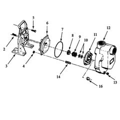
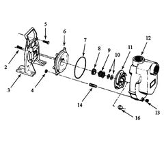
AMT Pump Kit 4297-K8, Model Reference: 4297-98, Unassembled

Motor Curves

Recently viewed

Similar Products