4296-K8

This item ships free!
AMTSKU: 4296-K8

Price:
Sale price$615.00
or Call for most up to date lead times. (781) 281-8905

Description

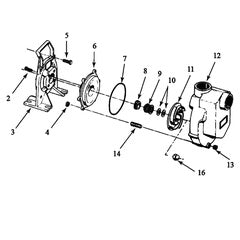
AMT Pump Kit 4296-K8, Model Reference: 4296-98, Unassembled

Motor Curves

Recently viewed

Similar Products