420A-170-90

This item ships free!
AMTSKU: 420A-170-90

Price:
Sale price$153.00
or Call for most up to date lead times. (781) 281-8905

Description

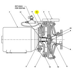
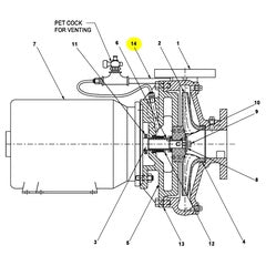
AMT Pump Repair Part 420A-170-90, VENT & PET COCK KIT

Motor Curves

Recently viewed

Similar Products